• Следующие Google Glass могут получить форму монокля
    суббота, 28.11.2015 12:00

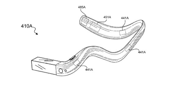
    Судя по полученному Google патенту, следующее поколение смарт-очков Google Glass может получить форму монокля. Разработанная Google технология предполагает использование гибкой дужки, которая будет подстраиваться под форму головы пользователя, повторяя ее изгибы.

    Google Glass



    При этом дужка сможет менять форму в трех точках, одна из которых расположена на затылке пользователя, вторая - за его ухом, а третья - у виска. Это позволит надежно зафиксировать дужку на голове и удерживать на уровне глаза крепящийся к ней дисплей в виде призмы, который, кстати, может сделать изображение видимым для обоих глаз.

    Google Glass



    В середине месяца информаторы рассказали о том, что Google планирует выпустить сразу три модификации смарт-очков Google Glass, наиболее интересной из которых станет гаджет, лишенный привычного экрана и использующий функцию голосового управления на основе костной проводимости, благодаря которой он сможет передавать звук по костям на барабанную перепонку.

    Появление второго поколения Google Glass намечено на следующий год.

    Источник: THG.RU
Версия для печати
Copyright © 1998-2025 <МЕТА> Все права защищены